您现在的位置:首页 >> 专利知识 >> 浏览文章
任天堂Switch专利文件公开或将推VR配件
发布日期:2016年12月19日   【字体: 】   浏览数:

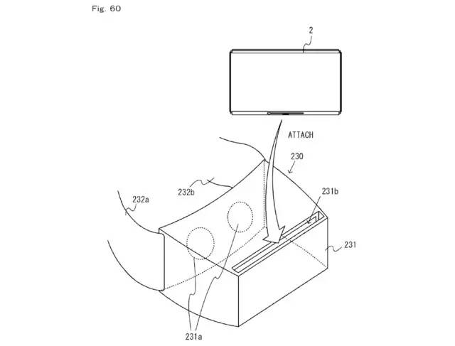
    该消息最初是由NeoGAF的一个名叫R?sti的ID爆料的。该附件被成为“HMD(头戴式显示器)”,其工作原理和谷歌以及三星的智能手机VR解决方案类似——核心本体Switch可以被塞进VR头盔之中,通过透镜创造出3D效果。

任天堂Switch专利文件公开或将推VR配件

    专利中还描述了在使用头盔的时候能够使用可拆卸的 Joycon手柄,不过并没有说在运行的过程中是否会用到运动控制器。

    专利还指出,在“本实施方案”中的Switch将能够使用角速度传感器以及加速器来进行头部追踪。不过专利现实Switch本身并没有包含这些原件,这意味着VR头盔本身将包含这些组件。虽然该专利是在今天才公布的,不过早在今年6月10日就已经提出来了。

    和所有的专利一样,该文件并不意味着会有新产品推出,只不过任天堂考虑到其可能性并且希望在今后的研究中继续探寻。

    任天堂总裁君岛达己(Tatsumi Kimishima)最近透露,Switch会提供更多我们从未见过的配件,并且任天堂此前也确认他在研究VR。

图文来源:中关村在线

版权所有:彩票365bet官网        冀ICP备15007900号
地 址:河北省邯郸市中华北大街甲47号    技术支持:银河网络